Zündungsprüfer für alte Fahrzeuge 

 
von Martin B.    
                      Elektronik-Labor  Bastelecke  Projekte  Notizen                         



Ein kleines Bastelprojekt zur Kfz-"Prüftechnik", ein einfacher Zündungsprüfer für alte Fahrzeuge welche noch Zündspule + Verteiler +
Zündkabel verbaut haben. Der Aufbau ist aus der Not heraus entstanden, schnell prüfen zu können, ob der HV-Bereich tot ist (Zündspule defekt) oder ob die HV-Energie als Spannung erzeugt wird aber nicht abgenommen wird (Verteilerläufer defekt).



Die Idee ist, sowohl den Strom mittels induktivem Wandler zu prüfen und dann auch mittels kapazitivem Sensor zu testen ob überhaupt Spannungsimpulse auf den Leitungen liegen. Als Nebeneffekt kann man auch den Zündzeitpunkt prüfen, falls eine entsprechende Markierung vorhanden ist.






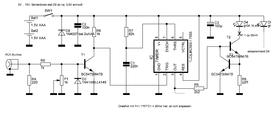
R4/R5/P1: Niederohmiger Eingangsbereich, mit P1 kann man die Empfindlichkeit einstellen. R6: nicht zu große Werte, da sonst zu empfindlich.

IC1: Die Standardschaltung als Monostabile Kippstufe (Oneshot), für Betriebsspannungen unter 4,5 V muss man die CMOS-Version nehmen, hier optimiert für 2xAAA Batterien. Monozeit ist mit R7+C1 auf 20ms eingestellt, das gibt im Leerlauf eine schöne Blitzerei.

Der Ausgang schaltet eine Stromquelle aus T1/T2/R8 mit max. 30 mA peak für eine "high eff." grüne LED, das gibt auch tagsüber noch brauchbares Licht. Ein gleichartiger Zweig parallel dazu macht auch keinen übertriebenen Mehraufwand. Man kann es auch vereinfachen, indem man  die LED via Vorwiderstand 22R direkt an Pin 3 (OUT) gegen GND betreibt, dann aber nur bis max. 3 V.



Als Stromsensor dient ein geteilter Ferrit-Ringkern (etwas ansägen und dann aus ca. 40 cm Höhe auf eine Steinplatte fallen lassen, Ausbeute ca. 50%) Typ unbekannt, eingeklebt in eine Wäscheklammer und mit ca. 10 Wdg. CuL bewickelt.



Der Spannungssensor ist ein Stück Koaxkabelschirm flach gepresst, isoliert und ebenfalls eingeklebt. Das Massekabel kann offen bleiben, die Kapazität zur Masse reicht hier schon aus.



Der Spannungstest ist sehr empfindlich, es reicht bereits wenn man sich dem Kabelbündel annähert, man kann hier auch keine einzelnen Leitungen herauspicken; man merkt aber, wenn überhaupt Spannung da ist und kann das Niveau vergleichen. R3 muss noch verringert werden, die Iterationsschritte durchzuführen ist etwas mühsam. R6 kann man auch noch testweise auf 470 R reduzieren.



Die passive Einfachstversion funktioniert als Stromsensor in einer unbeleuchteten Garage oder bei starker Dämmerung, man kann gerade noch einen Lichtschein aus den LEDs erkennen.

Anwendungsbericht zum Zündungsprüfer

Die Ergebnisse sind im Rahmen der Erwartungen und mit einer interessanten Erkenntnis. Vorausschicken muss ich allerdings, dass mir der Hauptdefekt - nämlich ein defekter Verteilerläufer - durch simple Widerstandsmessung bereits bekannt war, somit habe ich den aktiven Zündungsprüfer nicht mehr unbeeinflusst verwenden können. Aber die Motivation zum Vermessen des Läufers war der vorangegangene Test mit dem passiven ZP. Zündanlage ist hier ein Doppelsystem.


Vor der Reparatur:



Passiver ZP zeigt grün nur beim intakten Teil und dunkel beim Teil mit defektem Läufer -> korrekt, da kein Strom. Aktiver ZP zeigt je nach P1 Abschwächung auch vereinzelt Pulse beim nichtfunktionierenden Teil direkt am Ausgang der Zündspule, gleicht man vorher P1 am funktionierenden System ab, dann bleiben die LEDs dunkel -> korrekt. Mit der Spannungssonde bekommt man auf beiden Teilen Pulse, allerdings deutlich weniger beim Nichtfunktionellen, d.h. man kan annehmen, dass HV-Energie rauskommt und die Spule noch intakt ist.


Nach der Reparatur:



Passiver ZP zeigt grün bei beiden Teilen an -> korrekt. Die interessante Erkenntnis liegt hier: Die LEDs werden mit so geringem Strom betrieben, dass Unterschiede in der Helligkeit mit dem Auge sehr gut wahrgenommen werden, hier führt eines der beiden Systeme mehr Strom aus der Spule als das andere; der passive energiemittelnde Analoganzeiger gibt somit eine Indikation der Zündenergie. Aktiver ZP: keine Unterschiede der beiden Zweige feststellbar, weder mit Strom- noch mit Spannungssonde; hier kann man mit der Spannungssonde und Abstandsvariation noch das Spannungsniveau vergleichen.


Man müßte doch auch mit einem Oszilloskop etwas sinnvolles sehen können: Eine Windung mit dem Massekabel des Tastkopfes durch den Kern, den passiven ZP als Last und Messen der Spannung: es sind sehr kurze und hohe Spitzen sichtbar, und längere aber sehr niedrige, diese letzten dürften jene sein die den Zündfunken betreiben, diese geben aber kein vergleichbares Bild, jeder diese Impulse sieht anders aus und taugt nicht zu einem Vergleich. Außerdem nimmt die große Tastkopfschleife auch die ganzen Störungen mit auf die nicht zur Sekundärwicklung des Kerns gehören. Hier könnte man sich noch Gedanken zu einem geeigneten Aufnehmer machen, leider habe ich keine brauchbaren Informationen zu alten Werkstattestern gefunden.



 1V/div, 50 ns/div




 2V/div, 20 ns/div


Fazit: Ich denke, die Passivversion reicht völlig aus um die wichtigsten Punkte auf die Schnelle und ohne Zerlegungsarbeiten zu prüfen.

Ein Zündoszilloskop



Zündoszilloskop.pdf

Der erste Versuch zu einem Oszilloskop-Messadapter via Filterung der Sensorsignale war der falsche Ansatz: hinter der Filterung war kein Nutzsignal mehr erkennbar, aber starke HF-Störungen durch vom Tastkopf-Massekabel aufgenommene Induktionsspannungen hervorgerufen durch die Pulsströme im Kabel, noch dazu die typischen Ein/Ausschwingvorgänge durch die Induktivität des Masse-Krokokabels.

Aktueller Ansatz ist jener der früher in den Werkstätten verwendeten Zündoszilloskope: per Induktivaufnehmer auf der Leitung zum 1.Zylinder wird getriggert und per Kapazitivaufnehmer auf der Leitung zum Verteiler werden nacheinander die Zündspannungsverläufe aller Zylinder in einem stabilen Wiederholungsverlauf dargestellt. Das sich ergebene Bild der Spannungsverläufe soll eine gute Indikation zur Fehlerdiagnose ergeben haben, siehe auch die Quelle mit den Oszillogrammen und Fehlerbeschreibungen:

http://www.biat.uni-flensburg.de/msc/arbeitenallgemein/zsarbeiten_oszi.htm

Man kann die Aufnehmer meines einfachen Zündungsprüfers übernehmen wenn man den 100R beim Kapazitivaufnehmer entfernt und stattdessen einen Spannungsteilerkondensator verbaut. Diesen per Tastkopf ans Oszi Kanal A und den Induktivaufnehmer an Kanal B (und auf diesen triggern). Je nach Kapazitätsverhältnis und je nach Massekapazität sollte sich dann ein Spannungsverlauf ergeben; auf die Absolutspannung wird man wohl nur mit großer Unsicherheit rückschließen können, der Kurvenverlauf sollte mit diesem 0 Euro Bastelkistenmaterial-Aufbau doch gut sichtbar werden. Die Zündströme sind offensichtlich keine signifikante Größe bei den Werkstatttestern.


Messergebnisse



Das folgende Protoll zeigt exemplarisch alle Messungen im Detail: Vermessungsprotokoll.pdf

Der Induktivaufnehmer hat vermessene ca. 12 µH, ergibt mit den ca. 33 R Last einen Tiefpaß von ca. 1.5 MHz, da kommen die Einschwingvorgänge gut rüber. Die beiden Plateaus fallen offenbar dem Hochpass des Übertragers selber zum Opfer.

Zwei Mechaniker haben mir unabhängig voneinander bestätigt, dass die Oszillogramme soweit brauchbar sind und keinen Schaden an irgend einem Teil der Anlage anzeigen, und es wichtig ist, dass alle 4 Zylinder jeweils ungefähr die gleichen Bilder zeigen.

Der ganze Aufwand hat sich meiner Meinung nach somit für mich gelohnt, es gibt einen nachvollziehbaren Referenzaufbau und jetzt auch Referenzkurven, egal wir hoch die Absolutspannungen genau sind.

Unter https://www.agvs-beo.ch/cmsfiles/2016.06_af_el_zuendung_diagnose.pdf -> Seite 14 habe ich noch eine schöne Illustration gefunden.




Elektronik-Labor  Bastelecke  Projekte  Notizen