Alphastrahlenindikator AD1
von Norbert Renz

Das
AD1 ist für den Wohn-, Geschäfts-, Gewerbe-, Industrie- und
Laborbereich in trockenen Innenräumen bestimmt.
Außenanwendungen sind möglich, wenn Verschmutzung und
Nässe verhindert werden. Es eignet sich als einfacher Indikator
für Alphastrahlung für Sammler radioaktiver Mineralien, zur
groben Detektion von starker Kontamination von Oberflächen oder
für eigene Versuche mit der Technik. Das Gerät wurde als
Bausatz in Ebay angeboten.
Das vollständige Datenblatt: Datasheet_AD1.pdf
Alphastrahlung
ist besonders gefährlich, da sie nur eine kleine Reichweite hat
und daher schwer zu messen ist. Das Einatmen oder Verschlucken von
Staub und Partikeln kann jedoch zu schweren Erkrankungen führen.
Zerbrechen oder bearbeiten Sie niemals strahlendes Material, wenn sie
nicht dafür befugt sind. Normale Geiger-Müllerzählrohre
sind meist für Alphastrahlung undurchlässig und geben
keine Anzeige.
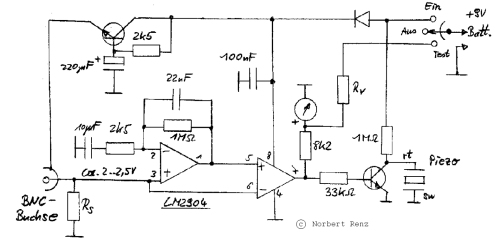
Ionisierende
Kernstrahlung führt u.A. dazu, dass Gase leitfähig werden.
Das AD1 verwendet eine offene Messzelle die die Leitfähigkeit der
Luft, die durch die, durch das Schutzgitter eingetretenen, Strahlen
verursacht wurde, misst. Hierzu ist ein extrem empfindlicher
FET-Fühler eingebaut, welcher durch ein Gitter geschützt
wird.
Der FET ist ein
üblicher HF-JFET, muss aber auf Eignung geprüft werden. Als
minimale Lösung für das Gehäuse eignet sich ein UHF BNC
Adapter. dessen 4-mm-Stift abgesägt wird. Der JFET wird mit Drain
an das Gehäuse und mit dem Source an den Innenleiter und die
die Überwurfmutter an das Gehäuse gelötet. Ein
vorgeformetes Edelstahlgitter, mit möglichst verschweißten
Einzeldrähten, wird dann eingeschraubt. Der Gateanschluss steht
frei in
die Kammer.
Empfindlichkeit: ca. 40 Impulse/Minute mit 2cm x 2cm Wolfram legiert mit 2% Thorium.
Mit hellgrün Uranglas 5 Impulse/Minute.
Nullrate 0 Impulse/Minute
Signalausgang: Akustisch (mit eingebautem Geber), visuell mit ballistisch-integrierendem Zeigerinstrument.
Durch
den offen Aufbau wird die Messstrahlung nicht abgeschwächt und die
Empfindlichkeit maximiert. Durch den extrem empfindlichen und
hochohmigen Fühler arbeitet der Sensor im Elektrometermodus. Das
Abschimgitter schützt ihn vor zu starken elektrischen Feldern und
Berührung. Sehr starke Felder, durch aufgeladene Gegenstände,
isolierte Metallteile, Kunststoffteile, oder ihrem eigenen Körper
(durch Aufladung der Kleidung und Schuhe beim Gehen), können zu
einer Störung führen. Bleiben Sie beim Messen stehen, erden
Sie sich und den Sensor durch kurze Berührung einer
Masseverbindung, oder machen Sie einen Ladungsausgleich zum Messobjekt.
Youtube-Film zu dieser Schaltung von Alan Yates: www.youtube.com/user/vk2zay#p/u/0/gFbEFuEO5EE
Zweiter Film mit Auswertung von Alan Yates: http://www.youtube.com/user/vk2zay#p/u/1/P34QcyibV94
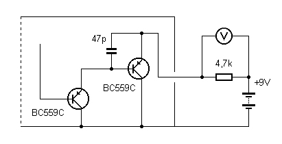
Darlington-Sensorverstärker, von B. Kainka
Bisher
hatte ich immer geglaubt, mit einer Ionisationskammer kann man zwar die
durchschnittliche Strahlendosis messen, nicht aber einzelne Ereignisse.
Aber die hier vorgestellten Versuche zeigen, dass es geht. Nun wollte
ich es auch mal ausprobieren. Und weil ich im Zusammenhang mit
Gammazählern und Fotodioden gute Erfahrungen mit Darlingtonstufen
gemacht habe, habe auch hier diesen Verstärkertyp eingesetzt. Er
hat auch den Vorteil, dass die Messkammer auf Massepotential liegen
darf.
Den Versuch habe ich in meine Blechdosen-Abschirmkammer
eingebaut. Wenn ich den Deckel schließe, kommen von außen
keine Störungen rein. Hier das Ergebnis einer Leerlaufmessung.
Man sieht ein Rauschen mit ca. 10 mVss.
Und hier die Messung mit einer alten Armbanduhr:
Die
Alphateilchen erzeugen Signale, die relativ steil um bis zu 20 mV
ansteigen und etwas flacher wieder abfallen. Es fällt allerdings
auf, dass die Anstiegsgeschwindigkeit mit ca. 1 mV/ms recht gering ist.
Richtig steile Impulse wie bei einer Fotodiode werden nicht beobachtet.
Liegt das an dem extrem hochohmigen Verstärker? Versuche mit
kleinerem Eingangswiderstand brachten überhaupt kein Signal mehr.
Daraus ziehe ich den Schluss, dass es an der geringen
Diffusionsgeschwindigkeit der Ionen liegt. Es dauert tatsächlich
mehr als 10 ms, bis alle Ionen eingesammelt sind. Das bedeutet
zugleich, dass sehr hohe Impulsraten nicht gemessen werden
können. Aber die Methode ist gut für die Messung
geringer Aktivitäten geeignet.
Bei den Versuchen kam
manchmal der Eindruck auf, dass die Aktivität am Anfang gering ist
und dann ansteigt. Ich vermute, dass das vom Leuchtzeiger der Uhr
ausgehende Radon sich nach dem Schließen des Deckels langsam in
der Messkammer ausbreitet. Dann werden hauptsächlich die
Alpha-Zerfallsereignisse registriert, die nahe am Sensordraht
stattfinden.
Ionisationskammer im E27-Lampensockel
Damit der Sensor in eine Lampenfassung eingebaut werden kann, muss die Schaltung etwas modifiziert werden.
Im Leerlauf wird am Lastwiderstand von 4,7 k eine
Spannung von 10 mV gemessen. Bei Annäherung von Uran-Pechblende können wieder
einzelne Alpha-Teilchen am Oszilloskop erkannt werden. Ein AM241-Strahler
aus einem Ionisations-Rauchmelder verdoppelt den Ausgangsstrom und erhöht die
Spannung auf 20 mV
Ein Drahtgitter schützt den Sensor vor äußeren Störungen
durch elektrische Felder. Etwa die Hälfte aller Alpha-Teilchen kommt noch durch.
Am Ausgang wird eine Spannung von 15 mV gemessen, wenn das AM241-Preparat
angenähert wird.